精密測試設備依靠精確的數據轉換器,確保所有測量結果都能準確地反映受測器件的狀態。在測試和測量中,任何偏移誤差、增益誤差或有效位數減少都將對測量結果產生負面影響。然而,遺憾的是,在高精度系統中,所有這些誤差都無法完全避免。溫度漂移或長期漂移等問題最終會以增益誤差或偏移誤差的形式表現出來。因此必須進行校準,確保所有測量結果都是準確的。
要實現有效的校準,必須提供穩定不變的電壓電平。通俗地講,可以稱之為“黃金基準”。模數轉換器 (ADC) 或數模轉換器 (DAC) 測量這些已知電壓電平時,可以比較測量結果并使用任何差值來確定增益誤差和偏移誤差。圖 1 展示了此電路的配置示例。


圖 1:ADC 校準的電路配置示例
在量化增益誤差和偏移誤差后,軟件可以對這些差值進行補償。這種校準方法對于確保測試應用的準確測量至關重要,它完全依賴于盡可能保持不變的黃金基準。當然,任何電路都不可能完全不變,因此即使是高精度的電壓基準,隨著時間的推移也會出現微小漂移。
埋入式齊納二極管電壓基準及其在校準中的重要性
如果黃金基準隨著時間發生變化,整個系統的精度都會受到影響。影響系統精度的黃金基準參數包括長期漂移、溫度漂移和噪聲。
如果選擇的電壓基準要將表 1 中所列參數引起的誤差降至最低,則會選擇具有內部加熱器的埋入式齊納電壓基準。埋入式齊納電壓基準能夠提供在時間和溫度變化下漂移極小的電壓電平,并具有超低噪聲。TI 的 REF80 就是此類器件的一個例子。表 1 還包括一些 REF80 性能規格。


表 1:電壓基準參數和 REF80 規格
0.1Hz 至 10Hz 噪聲和溫度漂移會影響電壓基準的輸出,從而導致校準誤差。不過,對于校準而言,最重要的規格是長期漂移,因為該參數直接影響整個系統需要校準的頻率。
增加半導體測試設備的系統校準間隔時間
在測試和測量設備中校準 ADC 和 DAC 時,埋入式齊納電壓基準有助于確定 ADC 和 DAC 輸出值的偏移程度。盡管埋入式齊納電壓基準隨時間變化很小,但在高精度測試設備中,仍必須考慮輸出電壓的微小變化。許多測試和測量系統需要在幾個月后校準黃金基準,確保依賴于黃金基準的系統校準依舊準確。圖 2 展示了 REF80 的長期漂移。


圖 2:REF80 輸出電壓長期漂移
圖 2 的幾個重要方面展示了為什么 REF80 非常適合高精度測試和測量系統的校準。首先,大多數輸出電壓漂移發生在器件運行的前 336 小時(或 14 天)內。這一點很重要,因為輸出電壓漂移穩定得越快,校準需求就越少,這是因為輸出電壓幾乎不會發生同樣大的漂移。換句話說,長期漂移的降低也會減少所需的校準次數。對于自動測試設備中的參數測量單元,該結果尤其重要(請參閱圖 3)。


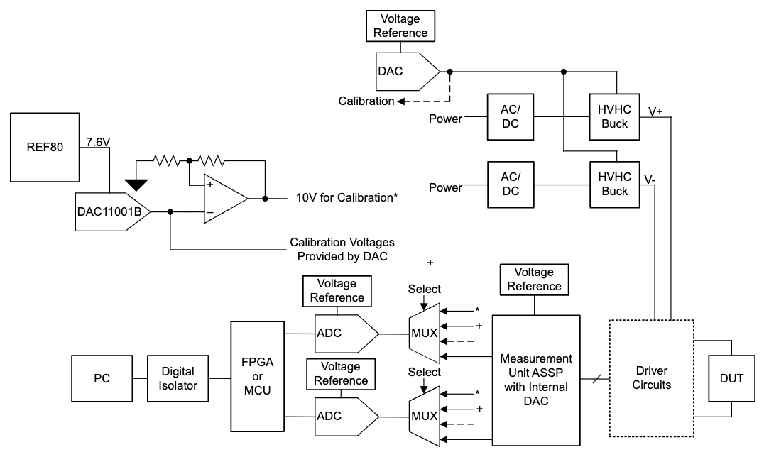
圖 3:自動測試設備中的參數測量單元方框圖
自動測試設備必須每隔幾個月后進行一次校準,確保黃金基準的輸出電壓漂移不會影響測試儀測量的精度。每次校準時,整個系統都必須離線,這會耗費時間和成本。使用 REF80 等埋入式齊納電壓基準能夠減少校準所需的時間和成本。
〈烜芯微/XXW〉專業制造二極管,三極管,MOS管,橋堆等,20年,工廠直銷省20%,上萬家電路電器生產企業選用,專業的工程師幫您穩定好每一批產品,如果您有遇到什么需要幫助解決的,可以直接聯系下方的聯系號碼或加QQ/微信,由我們的銷售經理給您精準的報價以及產品介紹
聯系號碼:18923864027(同微信)
QQ:709211280

